市場服務熱線
0574-88350052
喜訊

在科技飛速發展的時代,技術創新和突破成為企業保持競爭優勢的關鍵驅動力。最近,新芝生物榮獲國家知識產權局頒發的一項發明專利授權證書,這一成就不僅凸顯了企業在技術創新和研發領域的重要突破,更展示了其持續投入研發并致力于推動科技進步的決心和實力。
背景技術
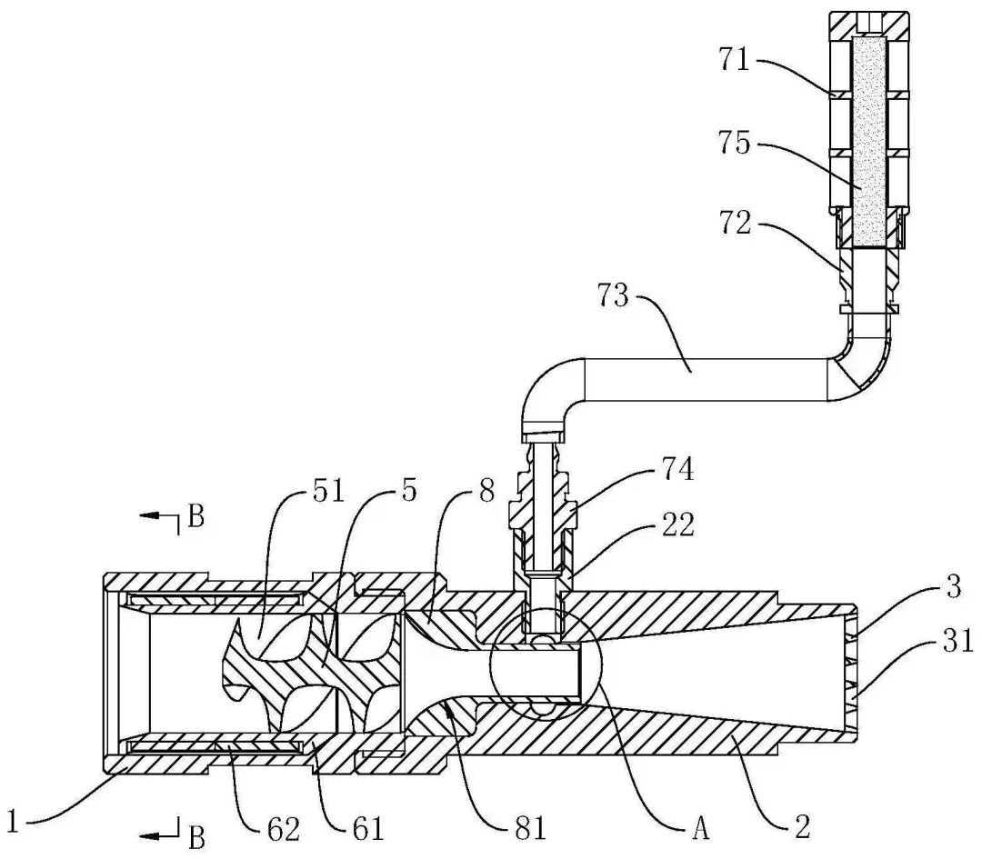
在當前水處理領域中,氣泡發生器得到廣泛關注。相對于普通氣泡發生器,微納米氣泡發生器可產生直徑0.1μm~50μm的微小氣泡,在產生的氣泡的濃度、尺寸大小、均勻性等方面具有明顯優勢,能夠達到更好的使用效果。但現有的微納米氣泡發生器功能單一,對氣泡的破碎效果有限,產生的氣泡的尺寸難以普遍達到納米級,且能耗較高、效率較低,極大地限制了其在水處理領域中的應用。
關于本發明
本發明涉及一種氣泡發生器,能針對現有技術的不足,提供一種納米級流體磁化混合氣泡發生器,該氣泡發生器結構簡單科學,使用簡便,納米級微氣泡的產生效率高,能解決工業中需要同時滿足流體磁化與微氣泡產生之雙重目的,可廣泛應用于水處理等眾多領域。

發明優勢
與現有技術相比,本發明具有如下優點:
本發明納米級流體磁化混合氣泡發生器結構簡單科學,使用簡便,應用范圍廣闊,納米級微氣泡的產生效率高,解決了工業中需要同時滿足流體磁化與微氣泡產生之雙重目的。
該氣泡發生器能夠使去除氧氣后的空氣和流動的螺旋加速高速水流在漩渦作用下充分混合均勻,形成納米級微氣泡,并使納米級微氣泡可高效生成并穩定溶解于磁化水中,從而有效控制得到的氣液混合體中的溶解氧含量,防止污水富營養化并遏制微生物生長。
END
創新讓我們走的更遠,致心讓我們的心更貼近用戶。依托強大的科研技術實力,公司在眾多技術領域積累了豐厚的經驗并研發了包括超聲波破碎儀器、冷凍干燥設備、分子生物學儀器、實驗室潔凈設備、工業防垢除垢設備等產品。我們始終堅持業界前沿的技術研究和應用開發,致力于為客戶提供先進的儀器設備和行業解決方案。

企業抖音號
企業公眾號新芝生物專業研發生產超聲波細胞粉碎機、超聲波清洗機和超聲波細胞破碎儀等各種科研實驗儀器與工業化生產設備
Copyright ? 2018-2024 m.corkcn.cn All Rights Reserved. 網站地圖 XML 舊版首頁
浙ICP備12028246號-1 互聯網藥品信息服務資格證書:(浙)-非經營性-2018-0084
浙公網安備 33020902000538號 技術支持:和眾互聯